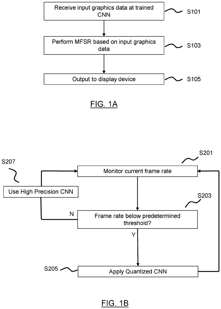
让PS5 Pro玩家头疼不已的问题,终于快要得到解决了,主机性能明明还有余力,然而画面却时不时会出现闪烁以及模糊的情况,这下这口气马上就能顺畅过来了。
PSSR 2.0技术方向首次披露
近日,索尼向WIPO提交了最新专利文件,这份文件首次揭示了PSSR 2.0的核心技术方向,名为“图形处理”的这份专利由PS5 Pro系统架构师马克·塞尔尼主导,他与AMD团队紧密合作,计划把FSR4的关键技术元素融入新一代PSSR中,根据专利描述,这套新方案将在未来数月内随开发套件一同向游戏工作室推送。
自2024年11月PS5 Pro发售之后,PSSR技术在《蜘蛛侠2》等第一方作品内表现出色,然而在《心灵杀手2》等第三方游戏当中,出现了显著的图像闪烁以及重影问题。玩家社区于过去三个月持续反馈这些视觉方面的瑕疵,如今索尼终于给出了解决方案。
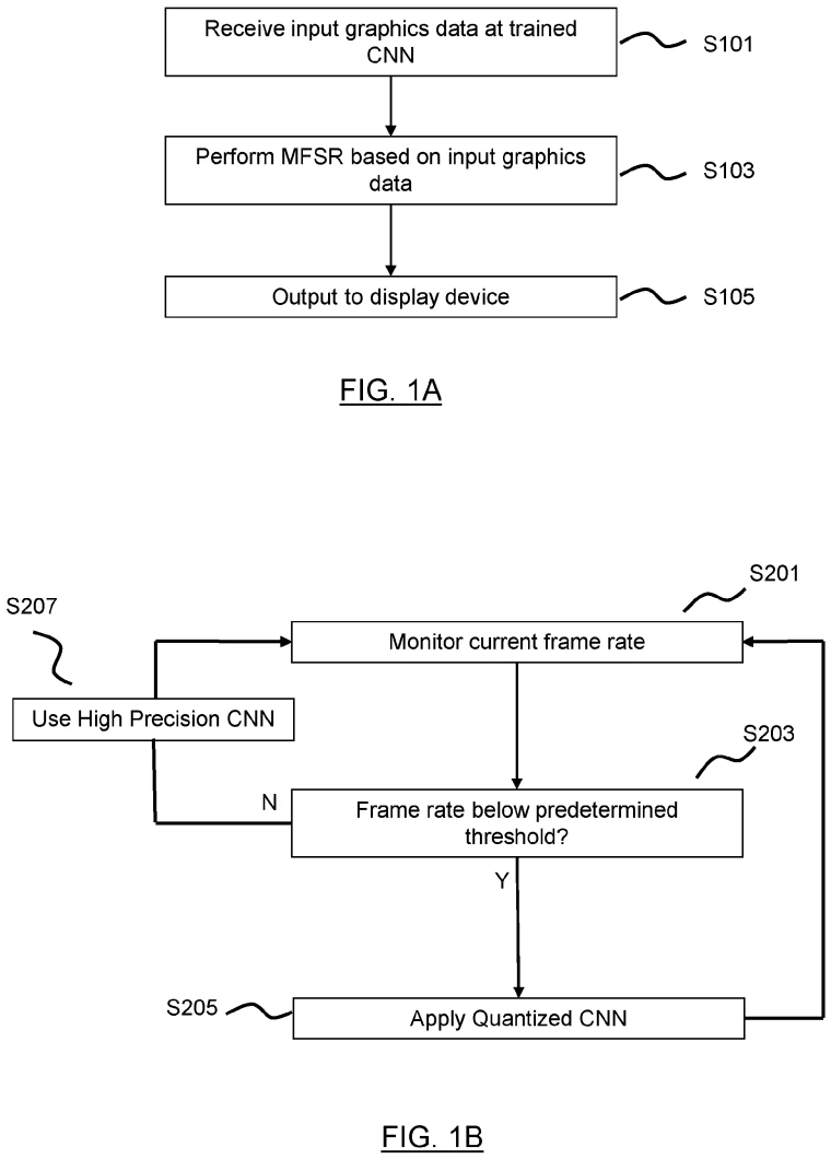
实时量化解决帧率波动
PSSR 2.0的核心创新之处在于,引入了实时量化机制,当游戏画面负载突然间增大,GPU处理能力达到上限之时,传统做法是采用直接降低游戏原生分辨率的方式来维持帧率,新专利所描述的方案与之完全不同,系统会采取直接临时减少卷积神经网络使用强度的方式,而非去变动分辨率这块至关重要的基石。
这种发生在毫秒级别的动态调整,当你于《使命召唤》战区从室内冲进开阔地带时,帧率原本会下降2到3秒,当你在《怪物猎人》荒野中面对满屏特效时,帧率同样会下降2到3秒。PSSR 2.0在这几秒内主动降低AI运算量,以此保证帧率稳定在60fps,待画面复杂度回落之后再恢复全部神经网络功能。
卷积神经网络不再全程满负荷
CNN卷积神经网络作为PSSR用于图像重建的核心引擎,借助机器学习把1080p画面智能拉伸成4K画质。当前版本存在的问题在于,CNN任何时候都处于满负荷运转状态,遇到复杂场景时便有可能致使GPU过载。PSSR 2.0运用实时量化技术,使CNN的工作强度依据画面负载进行动态调整。
这表明,在那种快节奏游戏里的高速运动情形下,PSSR 2.0会暂且削减AI的介入程度,借助传统图形算法来维持画面的输出。尽管这短短几秒钟的AI减负,或许会使画质稍微有所下降,不过换回来的却是帧率的十足稳定。对于那些追求60帧流畅度的玩家而言,这般取舍绝对是值得的。
开发者的新自由度
新专利为游戏工作室带来了更广阔的优化余地,以往开发者为使PSSR正常运作,势必得事先确定好基础分辨率,这常常意为着得牺牲掉一些画面细节,PSSR 2.0准许开发者于维持较高原生分辨率的状况下运用AI超分技术,无需再因稳定帧率而特意压低分辨率。
顽皮狗拿到了早期开发文档,圣莫尼卡工作室也拿到了早期开发文档,它们正在测试这项新技术。有参与测试的人员透露,新方案在《最后生还者》重制版的4K模式下效果显著,原本偶尔会出现画面撕裂问题,现在这个问题得到了明显改善。第三方工作室像育碧和EA也表示,会密切关注这项技术的实际表现。
玩家能体验到什么
对于处在普通玩家范畴之内的人而言,PSSR 2.0所致使的改变,将会于往前几个月的游戏更新进程当中,一步步逐步进行展现。最为直观的那种感受是,画面变得越发加更为稳定,原来是在快速转动视角之际时出现的边缘闪烁,将会大幅度地显著减少。第二个方面的变化是关于游戏运行时候的温度控制,因为神经网络不再持续保持满负荷运行的状态,进而主机散热风扇所发出的噪音也会相应地有所降低。
当下,《黑神话悟空》的PS5 Pro版本已然确定会适配PSSR 2.0 ,这款游戏在发售开始阶段曾因画面出现抖动状况被玩家予以吐槽,新的技术投入应用有希望将这个让人苦恼的问题彻底给予解决。依据测试提供的数据表明,在同样的画质设定情形之下,PSSR 2.0能够使帧率波动频率降低幅度超过40%。
技术成熟度仍需验证
虽然专利描述听起来颇为美妙,可是这套方案于真实游戏环境里的表现依旧有待加以验证,实时量化技术得在画面稳定性以及AI介入强度之间寻觅到完美的平衡点,而这个调优过程需要开展大量实际游戏测试,索尼互动娱乐的工程师团队当下正在多个游戏场景中收集数据,以便用于优化算法阈值。
有硬件评测机构表明,这套机制给游戏开发者的适配工作带来了新要求,每一款游戏都得依据自身画面特征单独去设置量化参数,万一设置不妥当反倒有可能致使画面一会儿好一会儿坏,索尼打算在5月份的开发者大会上公布详尽的适配指南,以此来协助工作室迅速掌握这套新工具。
于近期你在玩PS5 Pro之际有没有碰到过画面闪烁的状况,要是认为此项技术更新能够化解你的痛点,那就点上个赞使得更多玩家得以瞧见,在评论区去聊聊你实际的体验!
